
《小米超神》研运商福州朱雀网络获腾讯投资,占股比例尚未公布,公司注册资本由118.73万元增至148.41万元人民币,提升25%。

朱雀网络于2015年3月成立于福州,曾获小米互娱、君联(联想)等多家公司投资,拿到资本超数千万美金。团队规模现已超百人,其中85%为研发人员。
根据官网公布信息,朱雀网络团队的产品研发经验覆盖MMO、SLG、MOBA等多品类,但目前公司公开的主要产品方向为多平台MOBA类游戏的研发。
其中,MOBA手游《小米超神》为该公司主要产品。游戏于2019年上线国内及越南等海外市场,曾取得Google Play、App Store Top3的成绩。目前,《小米超神》于今年3月21日发布了停服公告,游戏将在2021年 5月 20 日上午10时正式停止运营。
此外,《AU计划》为其首款H5 MOBA游戏,用户量峰值超千万,DAU突破50万。朱雀网络还有一款未透露名称MOBA端游,数据为300万DAU、4000万月流水,以及45万PCU。
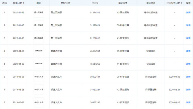
2020年朱雀网络的知识产权条目中新增了《勇士瓦瑞恩》《勇者达拉崩》《急速大乱斗》3个项目名称。此次腾讯的投资动作或与这3个项目有关。





