没想到2026年还能吃到《咏月风雅》的瓜。
这其实是一款2024年5月上线的老产品,其主打国风+养成+经典诗文书画拟人化,据称对标《食物语》和《忘川风华录》。本作曾在TapTap吸引了54万玩家关注,当年首曝PV及官宣公测定档的视频均在单平台收获几百万播放量,可以说有着一定的热度。
然而《咏月风雅》上线不到半年便停止了更新,自那时起便频频引发玩家质疑「官方跑路」。但游戏的研发团队苏河猫岸也也没怎么回应,直到去年年底,陆续有玩家发现《咏月风雅》已经无法登录,猜测是服务器到期,但官方从未发布停服公告。
事实上,在过去一年多的时间里,围绕这款游戏的闹剧断断续续上演。早在2024年,网上便传出苏河猫岸拖欠员工薪资的消息。后续又有人称项目主创成员已经决裂,就在上个月,《咏月风雅》前主美还在网上控诉前老板直播造谣诽谤。而在近期,苏河猫岸关联公司又新增一个终本案件,因拖欠约290万广告推广费,被列入被执行人。
大家可能对苏河猫岸并不熟悉。这个团队在业内知名度有限,而创始人&老板应该是比较擅长资本运作,名下公司曾拿到多笔投资,投资方不乏腾讯、红杉中国、数字天空等知名厂商。
公开资料显示,创始人「道道」毕业于数控机床专业,早年进过机加工厂、做过酒店IT,曾在BRTV卡酷少儿频道策划节目、在7k7k负责社区项目。他还在有妖气漫画平台做过产品经理和漫画编辑,这算是他与二次元真正结缘的开始。
创始人算是一位连续创业者,其于2015年注册成立了「波波和小伙伴们的(北京)科技有限公司」,该公司旗下有吃在路上、Gili爱、苏河猫岸等品牌。其中,吃在路上是主打旅行美食的垂类APP。Gili爱则是聚集了2000名注册画师的二次元社区(官方签约画师200多名),曾孵化出将中国茶叶拟人化的原创IP企划「云华志」,当时还有90后投资人给创始人投了数百万元。
只是这些项目做着做着就黄了,反倒是游戏同人宣传业务看着还有点搞头。公司从2016年开始参与一些游戏项目的同人宣传和人设,包括网易自研的《阴阳师》《永远的7日之都》、网易代理的《影之诗》《初音速》,以及盛大旗下《神无月》等。
大概率是源于上述经历的积累,公司萌生了进军游戏行业的念头,曾先后推出《恋爱吧!偶像》《咏月风雅》等自研产品,还设立了游戏品牌苏河猫岸。期间,公司接连获得了元气资本、优势资本、数字天空、腾讯、红杉中国的投资。但与资本市场的春风得意形成鲜明对比的是,公司旗下产品颇为惨淡的商业化成绩,恰应了官方简介中所说的「成功经验比较少,但是失败经验很多」。
其中,《恋爱吧!偶像》应该是公司发布的首款自研产品,当时还与体育游戏厂商望尘科技进行合作,结果仅运营了一年有余便下架了。
这是一款以娱乐圈追星为题材的乙女恋爱游戏,融合了角色养成、卡牌策略与剧情互动元素。本作于2018年开启宣传,曾因角色设定类似当时很火的偶像团队而被抨击「碰瓷」「夹带私货」,后经过修改调整于2019年9月上线,排名最高到过iOS游戏免费榜第376名,由于成绩太差在2020年10月下架了。
但公司并没有放弃女性向赛道,2021年前后又立项了《咏月风雅》。该项目研发了三年左右,早期团队规模较小,据称由老板兼任制作人、主策及运营,另外又找来了Delight Works《FGO》制作组的美术设计师担任主美。
2022年3月,《咏月风雅》正式首曝,凭借独特的题材和画风吸引了不少玩家关注,相关PV在微博收获了455万播放量和近3500条评论。之后两年《咏月风雅》进行了几轮测试并于2024年5月公测,没想到游戏又因为剧情、角色等问题多次引发争议。
作为一款古风二游,《咏月风雅》将中国古代文学中的经史子集、丹青墨宝拟人化(在游戏中被称为「祝者」),玩家(主控)扮演被神灵选中的神官,将完成一系列任务,并与祝者共同对抗敌人,来解锁角色专属故事线,推动剧情发展。
游戏的玩法偏复古,核心体验类似于4399小游戏《战争进化史》;美术方面的出品则不太稳定,部分卡面的制作比较粗糙,但也有一些角色立绘达到了较高水准,其中福瑞元素也颇受玩家喜爱。
而《咏月风雅》饱受诟病的地方还在于其定位混乱。游戏试图走男女通吃的路线,如在B站打上女性向标签,却又在剧情中加入明显的卖腐内容,这种摇摆「两头吃」的策略令大量被吸引来的正常向玩家倍感不适。
同时,官方运营的「骚操作」也加剧了玩家的不满。例如开服后未告知玩家便擅自修改剧情卖腐,后续被发现才滑跪道歉,可以说精准踩中用户雷点。
这种混乱还体现在剧情与设定上。游戏中掺杂了诸多类似短剧、虐文的狗血桥段,不时引发玩家感慨角色犹如「癫公癫婆」。部分情节更是堪称抽象,如主控从袖子里掏出手雷,或是角色品尝主控头发,或是为研发解药不惜自残实验,导致体验较为「跳戏」。
受此影响,《咏月风雅》上线后的表现很一般,仅短暂进入过iOS卡牌类游戏免费榜TOP200。而仅仅运营不到半年,游戏便停止了内容更新。无论玩家如何催更,官方都没有动静,而后不时有网友爆料公司拖欠员工薪资,导致大家都怀疑官方已经跑路。
对此,2024年底,公司老板曾通过官方游戏账号直播,并称「没有跑路,努力活着」,却由此引发了一连串风波。
根据网上流出的录屏,当时直播间有网友评论「不发工资」「外包赖掉」「卖惨骗玩家钱」「硬撑着不倒闭不就是还想骗钱吗」「游戏赚的钱也从没进公司账户啊」「我们都知道在你账上」,这令主播有些破防,直言这些网友是《咏月风雅》前主美的马仔,并表示其与前主美已经决裂。另外,主播还提到了此前运营事故中剧情修改一事自己并不知情、自己没办法核心管控公司所有美术和文案、上一任文案是被前主美等人逼走的、不卖周边是担心做的周边(产生的交易流水)直接被(银行)扣掉了等言论。
录屏截图
上述发言随后遭到了前主美的反击。去年年底,前主美在网上发布视频澄清自己并吐槽前司。据悉,前主美以造谣诽谤将前老板等人告上法庭,案件于2025年9月判决,前主美胜诉。
据前主美自述,她此前定居海外,是被前老板「骗回国」的。当时对方告诉她要做一个古风向二游(应该就是《咏月风雅》),竞品是《食物语》和《忘川风华录》,项目大概预算1500万,其中美术成本700万左右,游戏会给别人代理,预计做一年、2022年Q1上线。基于此,她回国加入了《咏月风雅》团队,但没想到自己原本只需要负责美术板块,最后却背起了项目经理、撰写战斗、文案需求、校对剧本等工作。
网传截图
根据视频中的爆料,该公司管理相当混乱,游戏暴毙后拖欠了员工接近3个月以上的工资、各路外包费用(包括国内外画师的稿费)、物业公司的款项等,前主美本人也被拖欠超33万元(不包含直播造谣的赔偿金)。
外界很难去判断双方之间孰是孰非,但可以确定的是,公司内部早已存在不可调和的矛盾。在这样的环境之下,《咏月风雅》的潦草收场也不那么让人意外了。
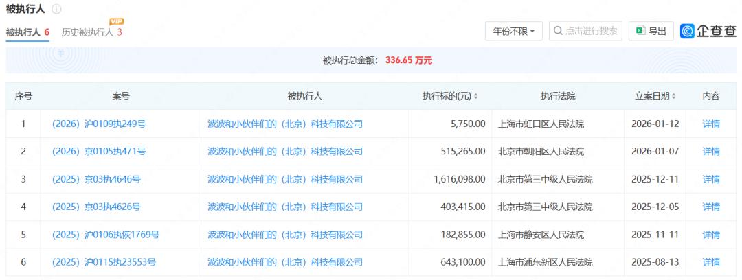
而游戏的失利也将公司拖进了泥潭。自2025年起,波波和小伙伴们的(北京)科技有限公司及其关联方因拖欠薪资、游戏推广费、美术外包费等,被多方告上法庭。这些案件已陆续公布判决,公司新增多条被执行信息。
整个事件最终只留下了一地鸡毛,以及至今仍守着废墟、期待《咏月风雅》能够复活的玩家们。




